В ОАЭ изобрели «сейсмопесочницу», снижающую ущерб от землетрясений на 75%

 
8762
15 января 2025 в 14:15
Автор: Дима Михеев
Автор: Дима Михеев
БОЛЬШОЙ РОЗЫГРЫШ! Заказывай от 99 р. в приложении Каталог Onlíner до 31.01 и получи шанс выиграть призы от Dreame

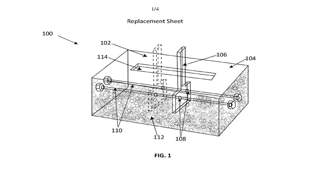
Университет Шарджи в Объединенных Арабских Эмиратах запатентовал инновационное устройство, предназначенное для снижения сейсмических нагрузок на здания. Изобретение использует песок для поглощения и рассеивания энергии землетрясений, что может уменьшить ущерб на 75%.

Устройство представляет собой энергорассеивающий механизм, который устанавливается в конструкцию здания. При сейсмической активности песок внутри устройства поглощает вибрации, снижая нагрузку на основные элементы строения. Это решение является экономически эффективным и экологически чистым, поскольку использует доступный и недорогой материал — песок.

Профессоры Университета Шарджи отмечают, что их изобретение может быть особенно полезным в регионах с высокой сейсмической активностью, где традиционные методы защиты зданий могут быть дорогостоящими или неэффективными. Они также подчеркивают, что устройство легко интегрируется в существующие строительные конструкции и не требует значительных модификаций.

«Наша работа демонстрирует неиспользованный потенциал природных гранулированных материалов для обеспечения экономичного и надежного решения для сейсмоустойчивости. В отличие от обычных систем она не требует внешнего питания и является высокорентабельной», — комментирует работу профессор Леблуба в недавнем пресс-релизе.

Есть о чем рассказать? Пишите в наш телеграм-бот. Это анонимно и быстро